
MIL-PRF-94/5J
2.3 Order of precedence. In event of a conflict between the text of this document and the references cited herein
(except for related associated specifications, specification sheets, or MS sheets), the text of this document takes
precedence. Nothing in this document, however, supersedes applicable laws and regulations unless a specific
exemption has been obtained.
3. REQUIREMENTS
3.1 General. The requirements for acquiring the product described herein shall consist of this document and
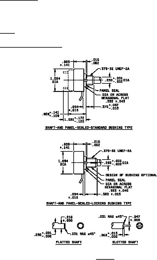
3.2 Interface and physical dimensions. The resistors shall meet the interface and physical dimensions specified in
figure 1.
FIGURE 1. Style RV4.
2
For Parts Inquires call Parts Hangar, Inc (727) 493-0744
© Copyright 2015 Integrated Publishing, Inc.
A Service Disabled Veteran Owned Small Business