
MIL-PRF-19/3D
3.9 Pure tin. The use of pure tin, as an underplate or final finish is prohibited both internally and externally. Tin
content of resistor components and solder shall not exceed 97 percent, by mass. Tin shall be alloyed with a minimum
of 3 percent lead, by mass (see 6.4).
Inches
mm
.001
0.03
.002
0.05
.005
0.13
.015
0.38
.016
0.41
.030
0.76
.040
1.02
.047
1.19
.062
1.57
.063
1.60
.080
2.03
.090
2.29
.093
2.36
.120
3.05
.125
3.18
.160
4.06
.190
4.83
.250
6.35
.375
9.53
.531
13.49
.620
15.75
.940
23.88
1.190
30.23
1.280
32.51
1.440
36.58
1.590
40.39
2.060
52.32
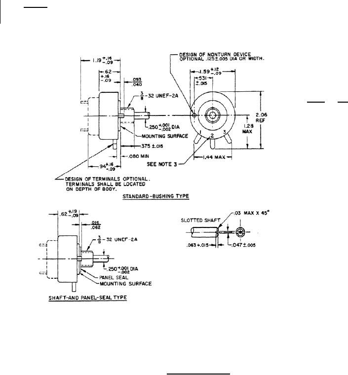
NOTES:
1.
Dimensions are in inches. Metric equivalent are given for general information only.
2.
Terminal identification for reference only.
FIGURE 1. Style RA30 Resistors.
4
For Parts Inquires call Parts Hangar, Inc (727) 493-0744
© Copyright 2015 Integrated Publishing, Inc.
A Service Disabled Veteran Owned Small Business