
MIL-PRF-94/6E
mm
Inches
mm
Inches
mm
Inches
mm
Inches
mm
Inches
0.001
0.03
0.040
1.02
0.062
1.57
0.250
6.35
1.000
25.40
0.002
0.05
0.045
1.14
0.063
1.60
0.375
9.53
1.094
27.79
0.005
0.13
0.047
1.19
0.085
2.16
0.500
12.70
1.266
32.16
0.015
0.38
0.050
1.27
0.094
2.39
0.531
13.49
1.359
34.52
0.016
0.41
0.055
1.40
0.125
3.18
0.593
15.06
0.031
0.79
0.057
1.45
0.216
5.49
0.937
23.80
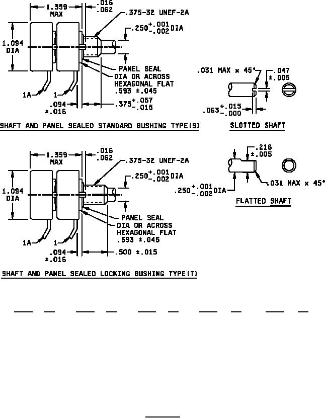
NOTES:
1.
Dimensions are in inches. Metric equivalents are given for general information.
Unless otherwise specified, tolerance is ±0.062 (1.57mm).
2.
FIGURE 1. Style 2RV7 Continued.
4
For Parts Inquires call Parts Hangar, Inc (727) 493-0744
© Copyright 2015 Integrated Publishing, Inc.
A Service Disabled Veteran Owned Small Business