emilspec
An Integrated Publishing, Inc. Site
eMilSpec
An Integrated Publishing Website
MIL-PRF-94-3 Resistors, Variable, Composition, Style Rv6
This specification covers the requirements for style RV6 composition, variable resistors.
Pages
1
-
2
-
3
-
4
-
5
-
6
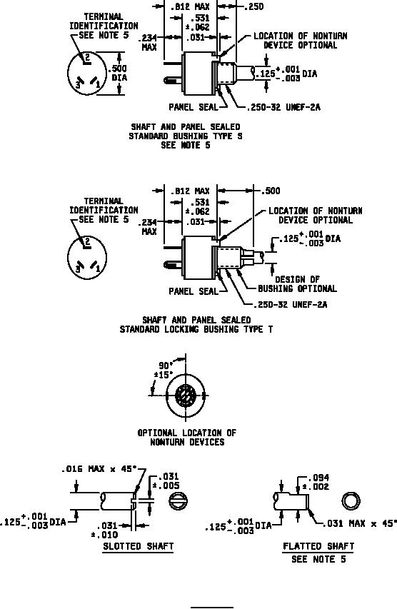
MIL-PRF-94/3M
FIGURE 1. Style RV6
- Continued.
3
For Parts Inquires call
Parts Hangar, Inc
(727) 493-0744
© Copyright 2015 Integrated Publishing, Inc.
A Service Disabled Veteran Owned Small Business