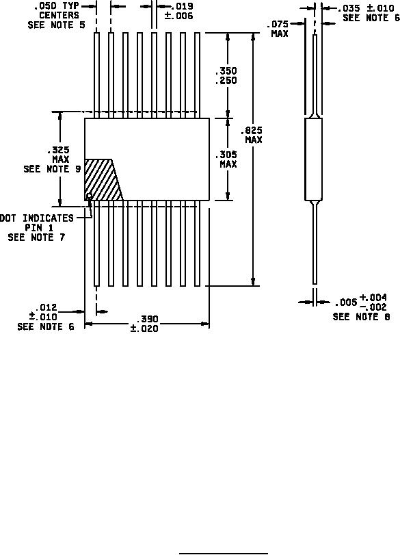
MIL-PRF-83401-10 Resistor Network, Fixed, Film Style Rz100, 16 Pin Flat PackThis specification covers the associated requirements for style RZ100, 16 pin flat pack resistor networks. This style is available in characteristics H, K, and M and resistance tolerances B, D, F, G, and J. This specification has two product levels, a high reliability, 100 percent burn-in screened "M" part number and a nonburn in screened part number "C". Designers are CAUTIONED on using these resistors in high power pulses applications \(see 6.4\).