
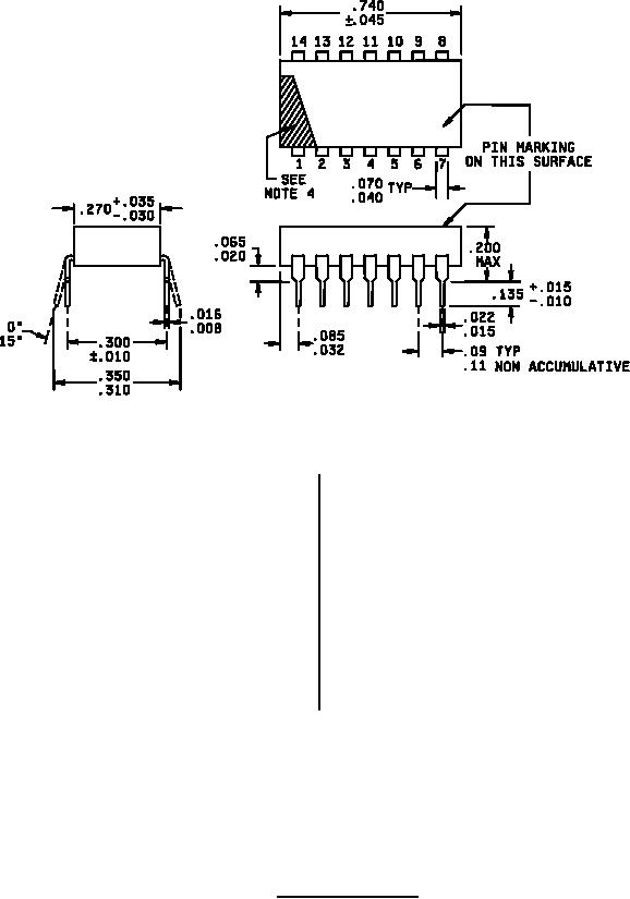
MIL-PRF-83401/1H
Inches
mm
Inches mm
.008
0.20
.070
1.78
.010
0.25
.085
2.16
.015
0.38
.090
2.29
.016
0.41
.110
2.79
.020
0.51
.135
3.43
.022
0.56
.200
5.08
.030
0.76
.270
6.86
.035
0.89
.300
7.62
.040
1.02
.310
7.87
.045
1.14
.350
8.89
.065
1.65
.740 18.80
NOTES:
1. Dimensions are in inches.
2. Metric equivalents are given for general information only.
3. The picturization of the styles above is given as representative of the envelope of the item. Slight deviations
from the outline shown, which are contained within the envelope and do not alter the functional aspects of
the device, are acceptable.
4. Pin 1 locator shall be a dot, notch, stripe, or numeral 1 adjacent to pin no. 1, in the shaded area.
FIGURE 1. Style RZ010 resistors.
5
For Parts Inquires call Parts Hangar, Inc (727) 493-0744
© Copyright 2015 Integrated Publishing, Inc.
A Service Disabled Veteran Owned Small Business