
MIL-PRF-49465C
TABLE II. Standard resistance values.
H (3.0)
H (3.0)
H (3.0)
H (3.0)
F (1.0)
F (1.0)
F (1.0)
F (1.0)
J (5.0)
J (5.0)
J (5.0)
J (5.0)
0.0187
0.0562
0.0100
0.0100
0.0332
0.0191
0.0576
0.0102
0.0340
0.0196
0.0590
0.0105
0.0348
0.0200
0.0604
0.0107
0.0200
0.0357
0.0205
0.0619
0.0110
0.0110
0.0360
0.0210
0.0113
0.0620
0.0365
0.0215
0.0634
0.0115
0.0374
0.0649
0.0118
0.0220
0.0383
0.0221
0.0665
0.0120
0.0390
0.0226
0.0121
0.0680
0.0392
0.0232
0.0681
0.0124
0.0402
0.0237
0.0698
0.0127
0.0412
0.0715
0.0130
0.0130
0.0240
0.0422
0.0243
0.0732
0.0133
0.0430
0.0249
0.0750
0.0137
0.0750
0.0432
0.0255
0.0768
0.0140
0.0442
0.0261
0.0787
0.0143
0.0453
0.0267
0.0806
0.0147
0.0464
0.0470
0.0150
0.0820
0.0150
0.0270
0.0274
0.0825
0.0154
0.0475
0.0280
0.0845
0.0158
0.0487
0.0287
0.0866
0.0160
0.0499
0.0510
0.0294
0.0887
0.0162
0.0909
0.0165
0.0300
0.0511
0.0301
0.0169
0.0910
0.0523
0.0309
0.0931
0.0174
0.0536
0.0316
0.0953
0.0178
0.0549
0.0560
0.0324
0.0976
0.0180
0.0182
0.0330
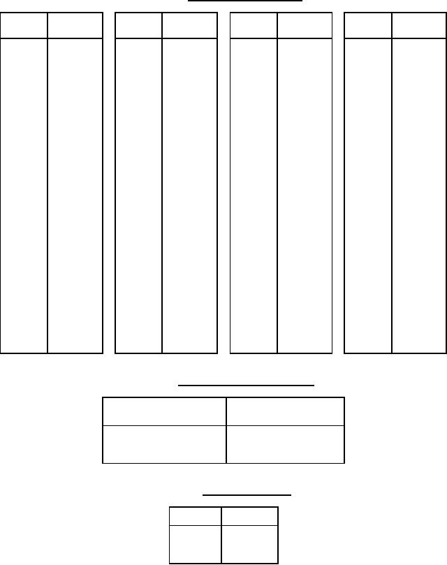
TABLE III. Designation of resistance values.
Resistance
Designation
(ohms)
R0100 to R0976 inclusive
.0100 to .0976 inclusive
R1000 to R9760 inclusive
.1000 to .9760 inclusive
1R000
1.000
TABLE IV. Resistance tolerance.
Symbol
Percent
F
1.0
H
3.0
J
5.0
3
For Parts Inquires call Parts Hangar, Inc (727) 493-0744
© Copyright 2015 Integrated Publishing, Inc.
A Service Disabled Veteran Owned Small Business