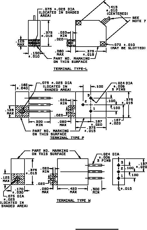
MIL-PRF-39015-3 Resistors, Variable, Wire-Wound \(Lead-Screw Actuated\), Nonestablished Reliability And Established Reliability Style Rtr24This specification covers the associated requirements for style RTR24, lead-screw actuated, wire-wound, variable resistors. The resistors are available in a ??5 percent resistance tolerance and terminal types L, P, W, and X.