emilspec
An Integrated Publishing, Inc. Site
eMilSpec
An Integrated Publishing Website
MIL-PRF-27208-9 Resistor, Variable, Wirewound, Adjustment Type, Lead Screw Actuated, Style Rt24
This specification covers the requirements for style RT24 adjustment type, lead screw actuated, wirewound, variable resistors.
Pages
1
-
2
-
3
-
4
-
5
MIL-PRF-27208/9G
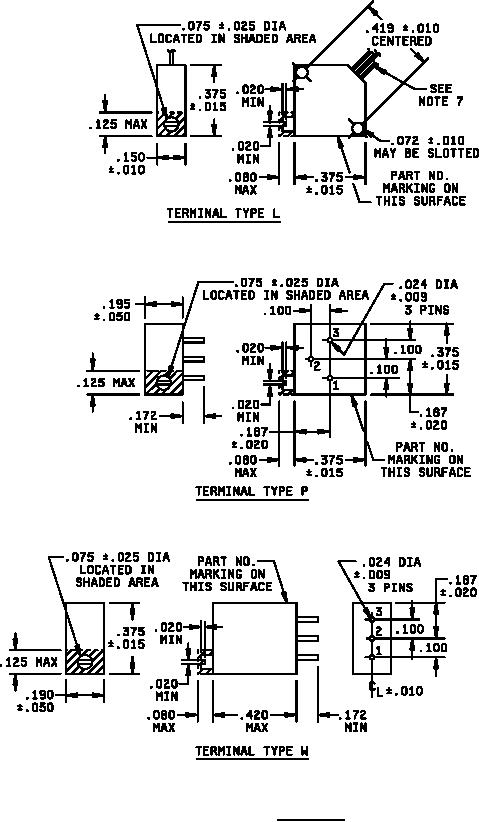
FIGURE 1. Style RT24.
3
For Parts Inquires call
Parts Hangar, Inc
(727) 493-0744
© Copyright 2015 Integrated Publishing, Inc.
A Service Disabled Veteran Owned Small Business