
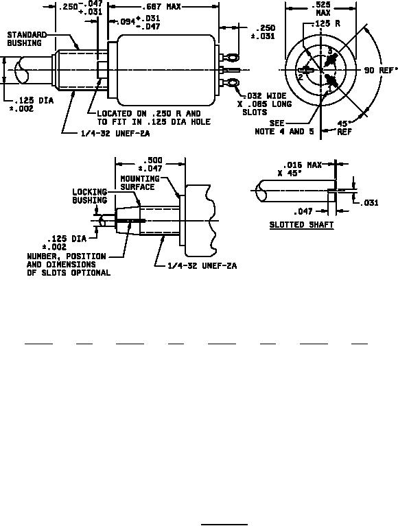
MIL-PRF-22/15C
Inches
mm
Inches
mm
Inches
mm
Inches
mm
0.002
0.05
0.032
0.81
0.094
2.39
0.500
12.70
0.016
0.41
0.047
1.19
0.125
3.18
0.525
13.34
0.031
0.79
0.085
2.16
0.250
6.35
0.687
17.45
NOTES:
1.
Dimensions are in inches.
2.
Tolerance is ±.015 unless other wise specified.
3.
Metric equivalents are given for general information.
4.
Terminal identification for reference only.
5.
Design and position of terminals optional
FIGURE 1. Style RP05
3
For Parts Inquires call Parts Hangar, Inc (727) 493-0744
© Copyright 2015 Integrated Publishing, Inc.
A Service Disabled Veteran Owned Small Business